Section 07-01: Transmission, Automatic—AODE | 1994 Mustang Workshop Manual |
NOTE: Prior to entering Pinpoint Tests, check the system wiring harness for proper connections, bent or broken pins, corrosion, loose wires, proper routing, proper seals and their condition. Check the PCM, sensors and actuators for damage. Refer to the Powertrain Control/Emissions Diagnosis Manual.
NOTE: If electrical diagnosis has been performed and a concern still exists, refer to Diagnostic Routines.
If DTCs are present while performing the On-Board Diagnostics, refer to the On-Board Diagnostic Trouble Code Description Chart for the appropriate service procedure. Prior to entering Pinpoint Tests, refer to any TSBs and Oasis messages for AODE transmission concerns.
NOTE: Prior to entering pinpoint tests, the vehicle harness must be checked for continuity and shorts; the powertrain control module (PCM) (12A650) must be checked for any concerns. Refer to the Powertrain Control/Emissions Diagnosis Manual for proper procedures.
NOTE: If any non-transmission DTCs appear, service those codes first. They could affect the electrical operation of the transmission. Record and erase DTCs from continuous memory after service has been performed. After servicing any DTCs in the Quick Test, repeat the Quick Test.
| *Output circuit check, generated only by electrical symptoms. | ||||||
|---|---|---|---|---|---|---|
| **May also be generated by some other non-electric transmission hardware system. | ||||||
| Three Digit DTCa | Four Digit DTCb | Component | Description | Condition | Symptom | Action |
| 111 | P1111 | SYSTEM | Pass | No malfunction detected. | Malfunction not detected by PCM. | PC/ED |
| 112
113 |
P0112
P0113 |
IAT | IAT indicates 125°C (254°F) (grounded)
IAT indicates -40°C (-40°F) (open circuit) |
Voltage drop across IAT exceeds scale set for temperature 125°
C (254°F).
Voltage drop across IAT exceeds scale set for temperature -40°C (-40°F). |
Incorrect EPC pressure. Either high or low which will result in harsh or soft shifts. | PC/ED |
| 114 | P0114 | IAT | IAT out of on-board diagnostic range | IAT temperature higher or lower than expected during KOEO and KOER. | Rerun on-board diagnostic at normal operating temperature. | PC/ED |
| 116 | P1116 | IAT | ECT out of on-board diagnostic range | ECT temperature higher or lower than expected during KOEO and KOER. | Rerun on-board diagnostic at normal operating temperature. | PC/ED |
| 117
118 |
P0117
P0118 |
ECT | ECT indicates 125°C
(254°F)
ECT indicates -40°C (-40°F) |
Voltage drop across ECT exceeds scale set for
temperature 125°C (254°F) (grounded).
Voltage drop across ECT exceeds scale set for temperature -40° C (-40°F) (open circuit). |
Torque converter clutch will always be off, resulting in reduced fuel economy. | PC/ED |
| 121 | P1124 | TP | TP voltage high/low for on-board diagnostic. | TP was not in the correct position for on-board diagnostic. | Rerun at appropriate throttle position per application. | PC/ED |
| 122, 123, 124, 125, 167 | P0122, P0123, P1120, P1121, P1125 | TP | TP concern | PCM has detected an error. This error may cause a transmission concern. | Harsh engagements, firm shift feel, abnormal shift schedule, torque converter clutch does not engage. Torque converter clutch cycling. | PC/ED |
| 157, 158, 159, 184, 185 | P0102, P0103, P1100, P1101 | MAF | MAF concerns | MAF system has a malfunction which may cause a transmission concern. | High/low EPC pressure, incorrect shift schedule. Incorrect torque converter clutch engagement scheduling. Symptoms similar to a TP failure. | PC/ED |
| 212
211-219 221-224 232-239 241-243 |
P0300-P0308
P0320, P0340 P1351-P1364 |
ICM | ICM concerns | ICM system has a malfunction which may cause a transmission concern. | Harsh engagements and shifts, late WOT shifts, no torque converter clutch engagement. | PC/ED |
| 452 | P0500 | VSS | Insufficient input from VSS. | PCM detected a loss of vehicle speed signal during operation. | Torque converter clutch engages, shift engagement/disengagement (hunting) on grades. | PC/ED |
| 522 | P1709 | MLP | MLP not in PARK. | On-board diagnostic not run in PARK. | Rerun on-board diagnostic in PARK. | Refer to Pinpoint Test D. |
| 536 | P1703 | BOO | Brake not actuated during on-board diagnostic.
BOO switch circuit failed. |
Brake not cycled during KOER.
Brake ON/OFF circuit failure. |
Failed ON or not connected— torque converter clutch will not
engage at less than 1/3 throttle.
Failed OFF or not connected— torque converter clutch will not disengage when brake is applied. |
PC/ED |
| 539 | P1460 | A/C | A/C clutch cycling pressure switch error | A/C or Defrost ON condition may result from A/C clutch being ON during on-board diagnostic. | DTC set during on-board diagnostic— rerun TOT—A/C
OFF.
Failed ON—EPC pressure slightly low with A/C OFF. |
PC/ED |
| 617** | P1731** | SS1 or internal parts | 1-2 shift error | Engine rpm drop not detected when 1-2 shift was commanded by PCM. | Improper gear selection depending on failure or mode and manual lever position. Shift errors may also be due to other internal transmission concerns (stuck valves, damaged friction material). | Refer to Solenoid On/Off Charts. Refer to Pinpoint Test A. |
| 618** | P1732** | SS1, SS2 or internal parts | 2-3 shift error | Engine rpm drop not detected when 2-3 shift was commanded by PCM. | Improper gear selection depending on failure or mode and manual lever position. Shift errors may also be due to other internal transmission concerns (stuck valves, damaged friction material). | Refer to Solenoid On/Off Charts. Refer to Pinpoint Test A. |
| 619** | P1733** | SS1, SS2 or internal parts | 3-4 shift error | Engine rpm drop not detected when 3-4 shift was commanded by PCM. | Improper gear selection depending on failure or mode and manual lever position. Shift errors may also be due to other internal transmission concerns (stuck valves, damaged friction material). | Refer to Solenoid On/Off Charts. Refer to Pinpoint Test A. |
| 621* | P0750* | SS1 | SS1 solenoid circuit failure | SS1 circuit failed to provide voltage drop across solenoid. Circuit open or shorted or PCM driver failure during on-board diagnostic. | Improper gear selection depending on condition mode and manual lever position. See Solenoid On/Off chart. | Refer to Pinpoint Test A |
| 622* | P0755* | SS2 | SS2 solenoid circuit failure | SS2 circuit fails to provide voltage drop across solenoid. Circuit open or shorted or PCM driver failure during on-board diagnostic. | Improper gear selection depending on condition mode and manual lever position. See Solenoid On/Off chart. | Refer to Pinpoint Test A |
| 623 | TBD | TCIL | TCIL circuit failure | TCIL circuit open or shorted. | Failed ON—Overdrive cancel mode on. NO flashing TCIL for EPC
or sensor failure.
Failed OFF—Overdrive cancel mode never indicated. NO flashing TCIL for EPC or sensor failure. |
PC/ED |
| 624* | P1747** | EPC | EPC solenoid circuit failure, shorted circuit or output driver. | Voltage through EPC solenoid is checked. An error will be noted if tolerance is exceeded. | Short Circuit—Causes minimum EPC pressure (minimum capacity) and limits engine torque (alternate firm). | Refer to Pinpoint Test E. |
| 625* | P1746** | EPC | Shorted PCM output driver. | Open Circuit—Causes maximum EPC pressure, harsh engagements and shifts. | Refer to Pinpoint Test E. | |
| 628** | P0741** | Transmission | Transmission slippage detected. | The PCM picked up an excessive amount of slippage during normal vehicle operation. | Transmission slippage/erratic or no torque converter clutch operation. Flash TCIL. | Refer to Diagnosis by Symptom. |
| 632 | P1780 | TCS | TCS not changing states. | TCS not cycled during self-test. TCS circuit open or shorted. | Rerun on-board diagnostic and cycle switch. No D cancel when switch is cycled. | PC/ED |
| 634 | P1709 | MLP | MLP out of range. | Indicated voltage drop across MLP exceeds limits established for each position. | Harsh engagements, firm shift feel.
No 3/4 shift. |
Refer to Pinpoint Test D. |
| 636 | P1711 | TOT | TOT out of on-board diagnostic range. | Transmission not at operating temperature during on-board diagnostic. | Warm vehicle to normal operating temperature. | Refer to Pinpoint Test B. |
| 637
638 |
P0713
P0712 |
TOT | -40°C (-40°F) indicated TOT sensor
circuit open.
157°C (315°F) indicated TOT sensor circuit grounded. |
Voltage drop across TOT sensor exceeds scale set for
temperature -40°C (-40°F)
Voltage drop across TOT sensor exceeds scale set for temperature of 157°C (315°F) |
Firm shift feel. | Refer to Pinpoint Test B. |
| 639 | P0720 | OSS | Insufficient input from Output Shaft Speed Sensor. | PCM detected a loss of OSS signal during operation. | Harsh shifts, abnormal shift schedule, no torque converter clutch activation. | Refer to Pinpoint Test F. |
| 652* | P0743* | TCC | TCC solenoid circuit failure during on-board diagnostic. | TCC solenoid circuit fails to provide voltage drop across solenoid. Circuit open or shorted or PCM drive failure during on-board diagnostic. | Short circuit—Engine stalls in second (OD, 2 range) at low
idle speeds with brake applied.
Open circuit— Torque converter clutch never engages. |
Refer to Pinpoint Test C. |
| 654 | P1705 | MLP | MLP not indicating PARK during KOEO. | On-board diagnostic not run in PARK. | Rerun on-board diagnostic in PARK | Refer to Pinpoint Test A. |
| 656** | P1741** | TCC | Excessive torque converter clutch engagement error. | Excessive variations in slip (engine speed surge) across the torque converter clutch. | Engine RPM oscillation is present in 3rd gear. | Refer to Pinpoint Test C. |
| 657 | P1783 | TOT | Transmission overtemp condition indicated. | Transmission oil temperature exceeded 127°C (270°F). | Increase in EPC pressure. | Refer to Pinpoint Test B. |
| 659 | P1706 | MLP | MLP indicating PARK during operation. | High vehicle speed is detected when MLP indicates PARK. | EPC pressure high, all shifts firm. | Refer to Pinpoint Test D |
| 667 | P0707 | MLP | MLP circuit below minimum voltage. | MLP sensor, circuit or PCM shorted or grounded. | Increase in EPC pressure. | Refer to Pinpoint Test D. |
| 668 | P0708 | MLP | MLP circuit above maximum voltage. | MLP sensor, circuit or PCM indicates open. | Increase in EPC pressure. | Refer to Pinpoint Test D. |
| 675 | N/A | MLP | MLP circuit voltage out of range. | MLP sensor, circuit or PCM operating erratically. | Increase in EPC pressure. | Refer to Pinpoint Test D. |
| N/A | P0751** | SS1 | Shift solenoid #1 functional failure. | Mechanical or hydraulic failure of the shift solenoid. | Improper gear selection depending on failure mode and manual lever position. | Refer to Solenoid On/Off Chart. Refer to Pinpoint Test A. |
| N/A | P0756** | SS2 | Shift solenoid #2 functional failure. | Mechanical or hydraulic failure of the shift solenoid. | Improper gear selection depending on failure mode and manual lever position. | Refer to Solenoid On/Off Chart. Refer to Pinpoint Test A. |
| N/A | P1742 | TCC | TCC solenoid failed ON (Calif. only). | TCC solenoid has failed ON by electric, mechanical or hydraulic concern. | Harsh shifts. | Refer to Pinpoint Test C. |
| N/A | P1743 | TCC | TCC solenoid failed ON | TCC solenoid has failed ON by electric, mechanical or hydraulic concern. | Harsh shifts. | Refer to Pinpoint Test C. |
| N/A | P1744 | Transmission (Calif. only) | Transmission slippage detected. | The PCM picked up an excessive amount of slippage during normal vehicle operation. | Transmission slippage/erratic or no torque converter clutch operation. | Refer to Diagnosis by Symptom. |
| N/A | P1751** | SS1 | Shift solenoid #1 functional failure (Calif. only). | Mechanical or hydraulic failure of the shift solenoid. | Improper gear selection depending on failure mode and manual lever position. | Refer to Solenoid On/Off Chart. Refer to Pinpoint Test A. |
| N/A | P1756** | SS2 | Shift solenoid #2 functional failure (Calif. only). | Mechanical or hydraulic failure of the shift solenoid. | Improper gear selection depending on failure mode and manual lever position. | Refer to Solenoid On/Off Chart. Refer to Pinpoint Test A. |
Pinpoint Test A
This Pinpoint Test is intended to diagnose the shift solenoids electrical system ONLY. To prevent replacement of good components, be aware that the following areas may be at fault:
This Pinpoint Test is intended to diagnose the following components:

| Solenoid | PCM Signal Output Pin | KOEO DTC |
|---|---|---|
| 5.0L SS1a | 51 | 621 |
| 5.0L SS2b | 52 | 622 |
| 3.8L SS1a | 27 | P0750 |
| 3.8L SS2b | 1 | P0755 |
Yes
No
CAUTION: Do not pry on connector, pull up on the connector harness.
NOTE: Refer to the schematic and charts preceding this pinpoint test.
Yes
NoNOTE: Refer to the schematic and chart preceding this pinpoint test.
Yes
NoNOTE: Refer to schematic and charts preceding this pinpoint test.
Yes
No
CAUTION: Do not attempt to pry connector. Depress tab and pull up on harness
connector.
NOTE: LED will turn GREEN when solenoid activates and turn OFF when deactivated. LED will turn RED if an ACTIVATED solenoid/harness is shorted to battery positive. LED will remain off if an ACTIVATED solenoid/harness is shorted to ground or no continuity (open circuit).
Yes
No
Yes
NoNOTE: Refer to the Transmission Tester for terminal locations.

Yes
NoNOTE: Out of specification may be caused by internal harness or solenoid concerns.
| Solenoid | Tester Jack |
|---|---|
| SS-1 | SS-1/VPWR |
| SS-2 | SS-2/VPWR |

Yes
No
Yes
No
CAUTION: Do not probe into connector terminals.
Yes
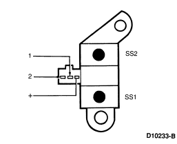
No| Solenoid | Wire |
|---|---|
| SS-1 | White |
| SS-2 | Black |
| VPWR | White/Black |
Yes
No
Yes
No| Solenoid | Terminal |
|---|---|
| SS-1 | 1 |
| SS-2 | 2 |
| PWR | + |
Yes
NoPinpoint Test B
This Pinpoint Test is intended to diagnose the TOT sensor electrical system ONLY. To prevent replacement of good components, be aware that the following areas may be at fault:
This Pinpoint Test is intended to diagnose the following components:

Yes
No
CAUTION: DO NOT PRY connector. Pull up on vehicle harness connector.
NOTE: Refer to the schematic and chart preceding this pinpoint test.
Yes
NoNOTE: Refer to schematic and charts preceding this Pinpoint Test.
Yes
NoNOTE: Refer to schematic and chart preceding this Pinpoint Test.
Yes
NoNOTE: Refer to the Transmission Tester for terminal locations.
CAUTION: Do not attempt to pry connector. Depress tab and pull up on harness connector.
NOTE: While perforiming Test 1 and 2, observe resistances. DTC 637 is set if resistance value exceeds 869K ohms (OPEN circuit). DTC 638 is set if resistance value falls below 597 ohms (short circuit).
| TRANSMISSION FLUID TEMPERATURE | ||
|---|---|---|
| °C | °F | Resistance (Ohms) |
| 0-20 | 32-58 | 100K-37K |
| 21-40 | 59-104 | 37K-16K |
| 41-70 | 105-158 | 16K-5K |
| 71-90 | 159-194 | 5K-2.7K |
| 91-110 | 195-230 | 2.7K-1.5K |
| 111-130 | 231-266 | 1.5K-0.8K |
Yes
No
Yes
No
Yes
No
CAUTION: Do not probe into connector terminals.
Yes
No| Sensor | Wire |
|---|---|
| TOT+ | White/Red |
| TOT- | Red |
Yes
No| TRANSMISSION FLUID TEMPERATURE | ||
|---|---|---|
| °C | °F | Resistance (Ohms) |
| 0-20 | 32-58 | 100K-37K |
| 21-40 | 59-104 | 37K-16K |
| 41-70 | 105-158 | 16K-5K |
| 71-90 | 159-194 | 5K-2.7K |
| 91-110 | 195-230 | 2.7K-1.5K |
| 111-130 | 231-266 | 1.5K-0.8K |
Yes
No| Sensor | Terminal |
|---|---|
| TOT | +/- |
Yes
NoPinpoint Test C
This Pinpoint Test is intended to diagnose the TCC solenoid electrical system ONLY. To prevent replacement of good components, be aware that the following areas may be at fault:
This Pinpoint Test is intended to diagnose the following components:

| Solenoid | PCM Signal Output Pin | KOEO DTC |
|---|---|---|
| 5.0L SS1a | 51 | 621 |
| 5.0L SS2b | 52 | 622 |
| 5.0L TCCc | 53 | 623, 652 |
| 3.8L SS1a | 27 | 0750 |
| 3.8L SS2b | 1 | 0755 |
| 3.8L TCCc | 82 | 0743 |
Yes
NoNOTE: Refer to the schematic and chart preceding this Pinpoint Test.
Yes
NoNOTE: Refer to the schematic and chart preceding this Pinpoint Test.
Yes
NoNOTE: Refer to schematic and chart preceding this Pinpoint Test.
Yes
No
CAUTION: Do not pry connector. Press the tab and pull on vehicle harness
connector.
NOTE: LED will turn GREEN when torque converter clutch solenoid activates and turn OFF when deactivated. LED will turn RED if an ACTIVATED solenoid/harness is shorted to battery positive. LED will remain off if an ACTIVATED solenoid/harness is shorted to ground or no continuity (open circuit).
Yes
No
Yes
NoNOTE: Refer to Transmission Tester for terminal locations.
Yes
NoNOTE: Internal harness or torque converter clutch solenoid may be damaged.
| Solenoid | Tester Jack |
|---|---|
| TCC | MCCC |

Yes
No
Yes
No
CAUTION: Do not probe into connector terminals.
Yes
No| Solenoid | Wire |
|---|---|
| TCC | Green |
| White/Green |
Yes
No
Yes
No| Solenoid | Terminal |
|---|---|
| TCC | +/- |
Yes
NoPinpoint Test D
This Pinpoint Test is intended to diagnose the Manual Lever Position Sensor electronic system ONLY. To prevent replacement of good components, be aware that the following areas may be at fault:
This Pinpoint Test is intended to diagnose the following components:


| To Test | Connect Self-Powered Test Lamp or Ohmmeter to Terminals | Move Switch to These Positions | A Good Switch Will Indicate |
|---|---|---|---|
| Transmission Circuits | 359 (GY/R) | Park | 3770-4507 ohms |
| Reverse | 1304-1593 ohms | ||
| and | Neutral | 660-807 ohms | |
| Overdrive | 361-442 ohms | ||
| 199 (LB/Y) | Second (2) | 190-232 ohms | |
| First (1) | 78-95 ohms | ||
| Backup Lamp Circuit | 294 (W/LB) | Park | Greater than 100K ohms |
| Reverse | Greater than 100K ohms | ||
| and | Neutral | Greater than 100K ohms | |
| Overdrive | Greater than 100K ohms | ||
| 140 (BK/PK) | Second (2) | Less than 5 ohms | |
| First (1) | Greater than 100K ohms | ||
| Starter Relay Circuit | 33 (W/PK) | Park | Less than 5 ohms |
| Reverse | Greater than 100K ohms | ||
| and | Neutral | Less than 5 ohms | |
| Overdrive | Greater than 100K ohms | ||
| 32 (R/LB) | Second (2) | Greater than 100K ohms | |
| First (1) | Greater than 100K ohms |
Yes
No
CAUTION: DO NOT pry on connector. Pull up on vehicle harness connector.
NOTE: Refer to the schematic and chart preceding this Pinpoint Test.
Yes
No
CAUTION: Do not pry connector. Press button and pull up on vehicle harness.
NOTE: Refer to the schematics and charts preceding this Pinpoint Test.
Yes
NoNOTE: Refer to schematics and charts preceding this Pinpoint Test.
Yes
No| To Test | Connect Ohmmeter to Terminals | Move Transmission Range Selector Lever to These Positions | A Good MLP Sensor Will Indicate |
|---|---|---|---|
| MLP Sensor Circuits | 359 (GY/R) and 199 (LB/Y) | P | 3770-4607 Ohms
4.41 Volts |
| R | 1304-1593 Ohms
3.60 Volts |
||
| N | 660-807 Ohms
2.93 Volts |
||
| D | 361-442 Ohms
2.09 Volts |
||
| 2 | 190-232 Ohms
1.37 Volts |
||
| 1 | 78-95 Ohms
0.68 Volts |
||
| Backup Lamp Circuits | 298 (P/O) and 140 (BK/PK) | P | Less than 5.0 Ohms |
| R | Greater than 100K ohms | ||
| N | Greater than 100K Ohms | ||
| D | Greater than 100K Ohms | ||
| 2 | Greater than 100K Ohms | ||
| 1 | Greater than 100K Ohms | ||
| Starter Circuits | 33 (W/PK) and 32 (R/LB) | P | Less than 5.0 Ohms |
| R | Greater than 100K Ohms | ||
| N | Less than 5.0 Ohms | ||
| D | Greater than 100K Ohms | ||
| 2 | Greater than 100K Ohms | ||
| 1 | Greater than 100K Ohms |
Yes
NoPinpoint Test E
This Pinpoint Test is intended to diagnose the EPC solenoid electrical system ONLY. To prevent replacement of good components, be aware that the following areas may be at fault:
This Pinpoint Test is intended to diagnose the following components:

| Solenoid | PCM Signal Output Pin | KOEO DTC |
|---|---|---|
| 5.0L SS1a | 51 | 621 |
| 5.0L SS2b | 52 | 622 |
| 5.0L TCCc | 53 | 623, 522 |
| 5.0L EPCd | 35 | 624, 625 |
| 3.8L SS1a | 27 | P0750 |
| 3.8L SS2b | 1 | P0755 |
| 3.8L TCCc | 82 | P0743 |
| 3.8L EPCd | 81 | P1746, P1747 |
CAUTION: Do not pry on connector. Press button and pull up on vehicle harness.
NOTE: Refer to the schematic and charts preceding this Pinpoint Test.
Yes
NoNOTE: Refer to the schematic and charts preceding this Pinpoint Test.
Yes
NoNOTE: Refer to the schematic and charts preceding this Pinpoint Test.
Yes
No
CAUTION: Do not attempt to pry the connector. Depress tab and pull up on harness connector.
NOTE: LED will turn GREEN when EPC solenoid activates and turn OFF when deactivated. LED will turn RED if an ACTIVATED solenoid/harness is shorted to battery positive. LED will remain off if an ACTIVATED solenoid/harness is shorted to ground or no continuity (open circuit).
Does the EPC (GREEN LED) activate when EPC switch is pressed?Observe line pressure on the gauge while pressing EPC switch (vehicle must be running).Does the line pressure drop?
Yes
NoNOTE: Refer to the Transmission Tester for terminal locations.
Yes
NoNOTE: Out of specification may be caused by internal harness or EPC solenoid concerns.
| Solenoid | Tester Jack |
|---|---|
| EPC | EPC |
| VPWR |

Yes
No
Yes
No
Yes
No| Solenoid | Wire |
|---|---|
| EPC | Blue (Signal) |
| White/Blue (EPCPWR) |
Yes
No
Yes
No| Solenoid | Terminal |
|---|---|
| EPC | +/- |
Yes
NoPinpoint Test F
This Pinpoint Test is intended to diagnose the OSS sensor electrical system ONLY. To prevent replacement of good components, be aware that the following areas may be at fault:
This Pinpoint Test is intended to diagnose the following components:

Yes
No
CAUTION: Do not pry on connector. Pull up on vehicle harness.
NOTE: Refer to schematics and charts preceding this Pinpoint Test.
Yes
No
Yes
No
CAUTION: Do not attempt to pry on the connector. Pull on harness connector.
Yes
NoNOTE: Refer to the Transmission Tester for terminal locations.
Yes
No| Solenoid | Tester Jack |
|---|---|
| OSS | +OSS |
| -OSS |

Yes
No


