1999 PCED On Board Diagnostics II |
SECTION 1: Description and Operation |
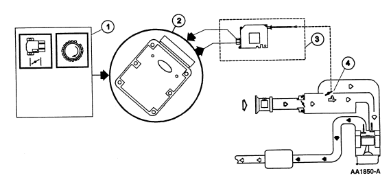
The Intake Air system (Figure 111) provides clean air to the engine, optimizes air flow and reduces unwanted induction noise. The Intake Air System consists of an air cleaner assembly, resonator assemblies and hoses. The main component of the intake air system is the air cleaner assembly. The air cleaner assembly houses the air cleaner element that removes potential engine contaminants, particularly abrasive types. The mass air flow (MAF) sensor is attached internally or externally to the air cleaner assembly and measures the quantity of air delivered to the engine combustion chamber. The MAF sensor can be serviced or replaced as an individual component. The intake air system also contains a sensor that measures the intake air temperature which may also be integrated with the MAF sensor. (Refer to Electronic EC Hardware - PCM Inputs for additional information on the MAF and IAT sensors.) Air induction resonators can be separate components or part of the intake air housing (i.e., conical air cleaner). The function of a resonator is to reduce induction noise. The air induction components are connected to each other and to the throttle body assembly with hoses.

Note: For additional illustrations, refer to the Workshop Manual.
There are two basic types of intake air sub-systems:
These subsystems are used to provide increased intake airflow to improve torque and performance. The overall quantity of air metered to the engine is controlled by the throttle body.
The Intake Manifold Runner Control (IMRC) Electric Actuated system (Figure 115) consists of a remote mounted motorized actuator with an attaching cable for each housing on each bank. Some applications will use one cable for both banks. The cable of linkage attaches to the housing butterfly plate levers. The Escort/Tracer 2.0L (2V) IMRC uses a motorized actuator mounted directly to a single housing without the use of a cable. Each IMRC housing is an aluminum casting with two intake air passages for each cylinder. One passage is always open and the other is opened and closed with a butterfly valve plate. The housing uses a return spring to hold the butterfly valve plates closed. The motorized actuator houses an internal switch or switches, depending on the application, to provide feedback to the PCM indicating cable and butterfly valve plate position.
Below approximately 3000 rpm, the motorized actuator will not be energized. This will allow the cable to fully extend and the butterfly valve plates to remain closed. Above approximately 3000 rpm, the motorized actuator will be energized. The attaching cable will pull the butterfly valve plates into the open position. Some vehicles will activate the IMRC near 1500 rpm.
WARNING: SUBSTANTIAL OPENING AND CLOSING TORQUE IS APPLIED BY THIS SYSTEM. TO
PREVENT INJURY, BE CAREFUL TO KEEP FINGERS AWAY FROM LEVER MECHANISMS WHEN
ACTUATED.

The intake manifold tuning (IMT) valve (Figure 113) is a motorized actuated unit mounted directly to the intake manifold. The IMT valve actuator controls a shutter device attached to the actuator shaft. There is no monitor input to the PCM with this system to indicate shutter position.
The IMT valve motorized unit will not be energized below approximately 2600 rpm. The shutter will be in the closed position not allowing airflow blend to occur in the intake manifold. Above approximately 2600 rpm, the motorized unit will be energized. The motorized unit will be commanded on by the PCM initially at a 100 percent duty cycle to move the shutter to the open position and then falling to approximately 50 percent to continue to hold the shutter open.












The throttle body system meters air to the engine during idle, part throttle, and wide open throttle (WOT) conditions. The throttle body system consists of an Idle air control (IAC) valve assembly, idle air orifice, single or dual bores with butterfly valve throttle plates and a Throttle Position (TP) sensor. One other source of idle air flow is the Positive Crankcase Ventilation (PCV) system. The combined idle air flow (from idle air orifice IAC flow and PCV flow) is measured by the MAF sensor on all applications.
During idle, the throttle body assembly provides a set amount of air flow to the engine through the idle air passage and PCV valve. The IAC valve assembly provides additional air when commanded by the powertrain control module (PCM) to maintain the proper engine idle speed under varying conditions. The IAC valve assembly mounts directly to the throttle body assembly in most applications, but is remote-mounted to the intake manifold in some applications. Idle speed is controlled by the PCM and cannot be adjusted.
Note: The traditional idle air adjust procedure as well as throttle return screw are no longer used on OBD II applications.
Throttle rotation is controlled by a cam/cable linkage to slow the initial opening rate of the throttle plate. The TP sensor monitors throttle position and provides an electrical signal to the PCM. Some throttle body applications provide an air supply channel upstream of the throttle plate to provide fresh air to the Positive Crankcase Ventilation (PCV) or IAC systems. Other throttle body applications provide individual vacuum taps downstream of the throttle plate for PCV return, Exhaust Gas Recirculation (EGR), Evaporative Emission (EVAP), and miscellaneous control signals.
The major components of the throttle body assembly include the TP sensor, IAC valve assembly, and throttle body housing assembly.
The TP sensor monitors throttle position and provides an electrical signal to the PCM. It is monitored by the OBD II system for component integrity, system functionality, and faults that can cause emissions levels to exceed standards set in government regulations. For additional information on the TP sensor, refer to Electronic EC System Hardware-PCM Inputs.

The idle air control (IAC) valve assembly (Figure 126), (Figure 127) and (Figure 128) controls engine idle speed and provides a dashpot function. The IAC valve assembly meters intake air around the throttle plate through a bypass within the IAC valve assembly and throttle body. The PCM determines the desired idle speed or bypass air and signals the IAC valve assembly through a specified duty cycle. The IAC valve responds by positioning the IAC valve to control the amount of bypassed air. The PCM monitors engine rpm and increases or decreases the IAC duty cycle in order to achieve the desired rpm.
On applications with air-assisted injectors, the IAC valve (Figure 128) also supplies a small amount of air into the path of the fuel injectors. The jet of air causes an increase in fuel atomization at low speed and light load conditions.
Note: The IAC Valve Assembly is NOT ADJUSTABLE and CANNOT BE CLEANED.
The IAC valve (part of throttle body assembly) has an internal diode on some applications. If the internal diode is measured in crossed terminal position with a digital multimeter, there will be an incorrect or negative reading. It is important that the mating component and harness connectors correctly oriented. Diagnostic procedures emphasize this importance.
The PCM uses the IAC valve assembly to control:
The throttle body housing assembly is a single piece of aluminum casting with an air passage and a butterfly throttle plate with linkage mechanisms. When the throttle plate is in the idle (or closed) position, the throttle lever arm should be in contact with the Throttle Return Stop. The throttle return stop prevents the throttle plate from contacting the bore and sticking closed. The setting also establishes the amount of air flow between the throttle plate and bore. To minimize the closed plate air flow, a special coating is applied to the throttle plate and bore to help seal this area. This sealant/coating also makes the throttle body resistant to engine intake sludge accumulation.


