Section 12-02: Heating and Defrosting | 1994 Mustang Workshop Manual |
The following illustrations provide vacuum schematics and vacuum control
motor charts which illustrate vacuum line routings and air distribution during
the various system operating conditions.
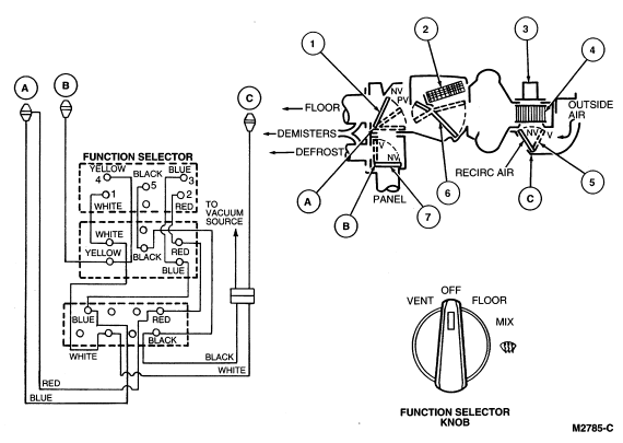
Heater and Vent System Airflow Schematic

| Item | Part Number | Description |
|---|---|---|
| 1 | — | Heater Air Damper Door (Part of Heater Case) |
| 2 | 18476 | Heater Core |
| 3 | 19805 | A/C Blower Motor |
| 4 | 19834 | A/C Blower Wheel |
| 5 | — | Heater and A/C Air Inlet Duct Door (Part of Heater Case) |
| 6 | — | A/C Air Temperature Control Door (Part of Heater Case) |
| 7 | — | Windshield Defroster Door (Part of 19740) |

| Item | Part Number | Description |
|---|---|---|
| 1 | — | Heater Air Damper Door (Part of Heater Case) |
| 2 | 18476 | Heater Core |
| 3 | 19805 | A/C Blower Motor |
| 4 | 19834 | A/C Blower Wheel |
| 5 | — | Heater and A/C Air Inlet Duct Door (Part of Heater Case) |
| 6 | — | A/C Air Temperature Control Door (Part of Heater Case) |
| 7 | — | Windshield Defroster Door (Part of 19740) |
| Function Selector Knob Position | Heater Air Inlet Duct Door | Heater Air Damper Door | Windshield Defroster Door | Blower Motor |
|---|---|---|---|---|
| VENT | NV | NV | V | ON |
| OFF | V | V | NV | OFF |
| FLOOR | NV | V | NV | ON |
| MIX | NV | NV | NV | ON |
| DEFROST | NV | NV | NV | ON |
| VACUUM HOSE COLOR CODE | WHITE | RED/BLUE | YELLOW | — |
NOTE: When vacuum is applied to both floor-defrost vacuum lines (red/blue), a full vacuum condition exists. When applied to blue line only, partial vacuum exists.
OFF
A pull-pull A/C temperature cable (19988) connects the A/C Air Temperature Control door with the function control knob (18519) in the assembly.
VENT
As the function control knob is moved toward the VENT position, airflow gradually increases to full flow from the panel A/C registers (19893) .
FLOOR
As the function control knob is moved from the panel to the FLOOR position, flow gradually increases to full airflow from the heater outlet floor ducts (18C433) and A/C side window demister and hoses (19E630) .
MIX
When the function control knob is moved from FLOOR to the MIX position:
DEFROST
With the function control knob in defrost (DEF), the air will be discharged from the windshield defroster hose nozzles onto the windshield glass (03100) and the A/C side window demister and hoses onto the side windows.