Section 11-05: Steering Column Switches | 1994 Mustang Workshop Manual |
Ignition Switch Continuity Test
Disconnect the multiple connector from the ignition switch . Test the switch continuity as described in the following illustration. Connect a self-powered test lamp or ohmmeter between the blade terminals indicated on the chart in the illustration. No continuity between any blade and the ground terminal should exist in any switch position except the proof and ground pins (P-1, P-2 and GND) in the START position only.
For an "engine won't crank" condition, determine if the condition exists
with the shift control selector lever knob (7213)
in both the PARK and NEUTRAL positions before
performing the ignition switch
continuity test. If the "no-crank" condition occurs in
one shift lever position but not the other, a more probable cause is the MLP
sensor located on the transmission. 
Ignition Switch Mechanical Test
Test the mechanical operation of the ignition switch by rotating the ignition switch through all switch positions. The movement should feel smooth with no sticking or binding. The ignition switch should return from the START position back to the RUN position without assistance (spring return). If sticking or binding is encountered, check the following:
NOTE: Do not apply lubricant to inside of the ignition switch .
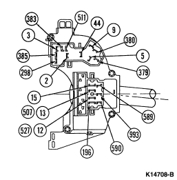
Turn Signal and Windshield Wiper Switch Continuity Test
Test for electrical malfunctions using a continuity tester and an ohmmeter, such as Rotunda Digital Volt Ohmmeter 007-00001 or equivalent.
Refer to the diagnostic charts and the illustration to resolve concerns
with the turn signal and windshield wiper switch. 
| SWITCH ACTUATOR POSITION | CONTINUITY BY CIRCUIT NUMBER |
|---|---|
| Turn Signal Lever in Neutral—
Hazard OFF |
Turn Signal:
Closed 810 to 5 and 9; 298 to 383. Open 810 to 2, 3, 44 and 385: 44 to 2, 3, 5, 9; 385 to 383. Cornering Lamp: Open 15 to 379 and 380; 379 to 380. |
| Turn Signal Lever in Left Turn—
Hazard OFF |
Turn Signal:
Closed 810 to 5; 44 to 3 and 9; 298 to 383. Open 810 to 3, 9, 44; 44 to 2, 5 ; 385 to 383 Cornering Lamp: Closed 15 to 380. Open 15 to 379; 379 to 380. |
| Turn Signal Lever in Right Turn—
Hazard OFF. |
Turn Signal:
Closed 810 to 9; 44 to 2 and 5; 298 to 383. Open 810 to 2, 5, 44; 44 to 3, 9 and 385; 385 to 383. Cornering Lamp: Closed 15 to 380. Open 15 to 379; 379 to 380. |
| Hazard ON | Closed 44 to 2, 3, 5 and 9; 385 to 383.
Open 810 to 5, 9, 44, 2 and 3; 298 to 383. |
| Hazard OFF
Turn Signal Lever, Right Turn |
Closed 810 to 9; 44 to 2 and 5; 15 to 379.
Open 810 to 2, 5, 44; 44 to 3 and 9. |
| Headlamp Beam Switching: | |
| •Lever at High Beam | Closed 15 to 12.
Open 15 to 13 and 196; 196 to 12. |
| •Lever at Low Beam | Closed 15 to 13.
Open 15 to 12 and 196; 196 to 13. |
| •Lever at FLASH-TO-PASS | Closed 15 to 13; 196 to 12.
Open 15 to 12; 196 to 13. |
| Wiper/Washer Switching: | |
| •Wash OFF and Wiper OFF | Resistance 993 to 590, 103.3K ohms ± 10%.
Resistance 993 to 589, 47.6K ohms ± 10%. |
| •Wash ON and Wiper OFF | Closed 993 to 590;
Resistance 993 to 589, 47.6K ohms ± 10%. |
| •Wiper OFF and Wash OFF | Resistance 993 to 590, 103.3K ohms ± 10%.
Resistance 993 to 589, 47.6K ohms ± 10%. |
| •Wiper LO or Low Speed and Wash OFF | Resistance 993 to 590, 3.3K ohms ± 10%.
Resistance 993 to 589, 4.08K ohms ± 10%. |
| •Wiper HI or High Speed and Wash OFF | Resistance 993 to 590, 3.3K ohms ± 10%.
Closed 993 to 589. |
| •Wiper Interval and Wash OFF | Resistance 993 to 589, 11.33K ohms ± 10%.
Resistance 993 to 590. Gradually decreasing from 103.3K ohms to 3.3K ohms from Maximum Delay to Minimum Delay. |