Section 03-07A: Ignition, Distributor | 1994 Mustang Workshop Manual |
| Description | Tool Number |
|---|---|
| Axle Bearing/Seal Plate | T75L-1165-B |
Removal
CAUTION: Do not attempt to replace stator without an arbor press.
NOTE: Hold distributor drive gear to loosen armature screws. Do not hold armature.


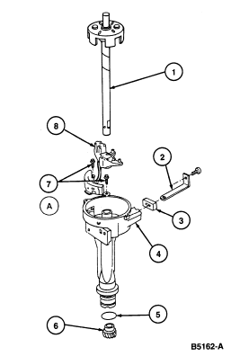
| Item | Part Number | Description |
|---|---|---|
| 1 | — | Shaft (Part of 12127) |
| 2 | — | Octane Rod (Part of 12127) |
| 3 | — | Grommet (Part of 12127) |
| 4 | 12127 | Distributor |
| 5 | 12143 | Distributor Base O-Ring |
| 6 | — | Gear (Part of 12127) |
| 7A | — | Screws (2 Req'd) (Part of 12127) |
| 8 | 12A112 | Distributor Stator |
| A | Tighten to 1.7-4.0 Nm (15-35 Lb-In) |
Installation

NOTE: The hole in the shaft and drive gear must be lined up as accurately as possible to ensure ease of roll pin insertion.
NOTE: If the drive gear holes do not align, the drive gear must be removed and pressed on again. A drift punch will not align the holes.
CAUTION: If drive gear is damaged, do not replace gear: serious engine damage
may result. Replace complete distributor
.

NOTE: If the armature contacts the distributor stator , replace the entire distributor .