Section 03-01A: Engine, 3.8L | 1994 Mustang Workshop Manual |
Removal
Push piston (6108) up into cylinder block bore after removing connecting rod cap. Ensure crankshaft journals are not damaged.
Each connecting rod cap should be identified so it can be installed in its original position during assembly.
NOTE: Handle crankshaft with care to prevent possible damage to finished bearing surfaces.
Refer to Section 03-00 for crankshaft cleaning, inspection and refinishing.
CAUTION: Because the engine crankshaft incorporates deep rolling of the main
journal fillets, journal refinishing is limited to 0.25mm (0.010 inch)
undersize standard journal dimensions. Further crankshaft main journal
refinishing may result in fatigue failure of the crankshaft.

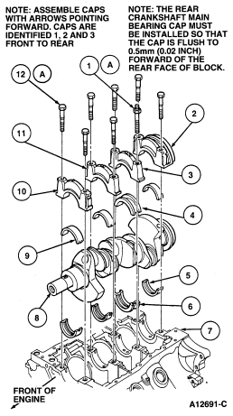
| Item | Part Number | Description |
|---|---|---|
| 1A | N805417-S | Stud Bolt |
| 2 | — | Rear Main Bearing Cap (Part of 6010) |
| 3 | — | Rear Intermediate Main Bearing Cap (Part of 6010) |
| 4 | 6337 | Crankshaft Thrust Main Bearing—Lower |
| 5 | 6333 | Crankshaft Main Bearing—Upper (3 Req'd) |
| 6 | 6337 | Crankshaft Thrust Main Bearing—Upper |
| 7 | 6010 | Cylinder Block |
| 8 | 6303 | Crankshaft |
| 9 | 6333 | Crankshaft Main Bearing—Lower (3 Req'd) |
| 10 | — | Front Main Bearing Cap (Part of 6010) |
| 11 | — | Front Intermediate Main Bearing Cap (Part of 6010) |
| 12A | N806845-S | Bolt (7 Req'd) |
| A | Tighten to 110-120 Nm (81-89 Lb-Ft) |
Installation
Lightly oil all bolts and stud threads before installation.
CAUTION: Contaminants on a bearing surface will cause damage to the crankshaft
journals.
Loosen the lower intake manifold retaining bolts and support brackets prior to installing bearings or measuring bearing clearances.
Install new crankshaft main bearings. Ensure tabs on bearing engages slots in the main cap and cylinder block .
NOTE: When using silicone rubber sealer, assembly must occur within 15 minutes after sealer application. After this time, the sealer may start to set-up, and its sealing effectiveness may be reduced.
Do not jam the screwdriver into position. Carefully tap on the screwdriver until it holds crankshaft toward front of engine.
Install new connecting rod bearings. Ensure tabs on bearing securely engage the slots in connecting rod and cap.
As each clearance check is completed lubricate bearing surfaces with Engine Assembly Lubricant D9AZ-19579-D or equivalent meeting Ford specification ESR-M99C80-A before installing connecting rod cap.
Tighten retaining nuts to 41-49 Nm (31-36 lb-ft), back-off nuts two to three turns. Final-tighten the nuts to 41-49 Nm (31-36 lb-ft).