Section 03-01A: Engine, 3.8L | 1994 Mustang Workshop Manual |
| Description | Tool Number |
|---|---|
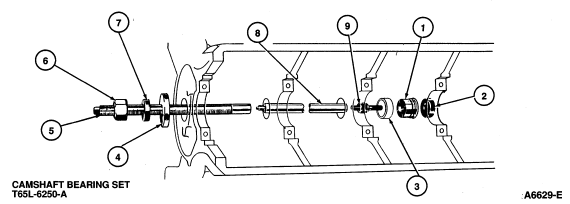
| Camshaft Bearing Set | T65L-6250-A |
Removal
Installation
Camshaft bearings are available refinished to size for standard and 0.38mm (0.015 inch) undersize journal diameters. The bearings are not interchangeable from one bore to another.
CAUTION: Failure to use correct expanding collet can cause severe bearing
damage. Ensure front camshaft bearing is installed at specified distance below
front face of cylinder block.

| Item | Part Number | Description |
|---|---|---|
| 1 | — | Expanding Collet (Part of T65L-6250-A) |
| 2 | — | Back-Up Nut (Part of T65L-6250-A) |
| 3 | 6261 | Camshaft Bearing |
| 4 | — | Pulling Plate (Part of T65L-6250-A) |
| 5 | — | Puller Screw (Part of T65L-6250-A) |
| 6 | — | Pulling Nut (Part of T65L-6250-A) |
| 7 | — | Thrust Bearing (Part of T65L-6250-A) |
| 8 | — | Puller Screw Extension (Part of T65L-6250-A) |
| 9 | — | Expanding Collet (Part of T65L-6250-A) |