Section 08-01: Clutch/Pressure Plate | 1994 Mustang Workshop Manual |
The primary function of the clutch system is to couple and uncouple
engine power to the transmission upon driver command. For additional
information, refer to Section 08-00. 
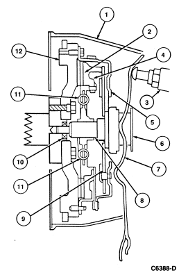
| Item | Part Number | Description |
|---|---|---|
| 1 | 6392 | Flywheel Housing |
| 2 | 7550 | Clutch Disc |
| 3 | 7B602 | Clutch Release Lever Pivot |
| 4 | 7563 | Pressure Plate |
| 5 | — | Cover (Part of 7563) |
| 6 | 7548 | Release Bearing |
| 7 | 7515 | Clutch Release Shaft |
| 8 | 7017 | Input Shaft |
| 9 | — | Release Fingers (Part of 7563) |
| 10 | 7600 | Pilot Bearing |
| 11 | — | Damper Springs (Part of 7550) |
| 12 | 6375 | Flywheel |