Section 06-09: Brake System, Anti-Lock | 1994 Mustang Workshop Manual |
DESCRIPTION AND OPERATION
Hydraulic Control Unit
The ABS hydraulic control unit and anti-lock brake control module (2B373) are a complete
assembly. The assembly is located in the RH lower front corner of the engine
compartment, next to the bottom of the white radiator coolant recovery reservoir (8A080)
. The unit is mounted inside a bracket, which is affixed
to the RH frame rail.

- The hydraulic portion of the hydraulic control unit modulates brake
pressure at each wheel through the use of three internal solenoid valves.
- A brake fluid pump motor recirculates the brake fluid during ABS cycling.
- When the anti-lock brake control module
detects an impending wheel lock, it modulates brake
pressure to the appropriate brake caliper.
- The ABS anti-lock brake control module receives wheel speed readings from each
brake anti-lock sensor, and uses this information to compare wheel speeds.
- By continuously monitoring and comparing the rotational speed of each
wheel, the anti-lock brake control module
activates the anti-lock braking system only when it
senses an impending wheel lock-up under severe braking conditions. The anti-lock brake control module
decides which wheels' brakes need to be controlled, and
sends the appropriate signals to the hydraulic control unit (hydraulic portion
of the assembly). Impending wheel lock conditions trigger signals from the
hydraulic control unit that open and close the appropriate modulator solenoid
valves. This may result in moderate pulsations in the brake pedal (2455)
when applied. During normal braking (non-ABS stop),
brake pedal feel will be the same as a vehicle with a standard brake system
(non-ABS).
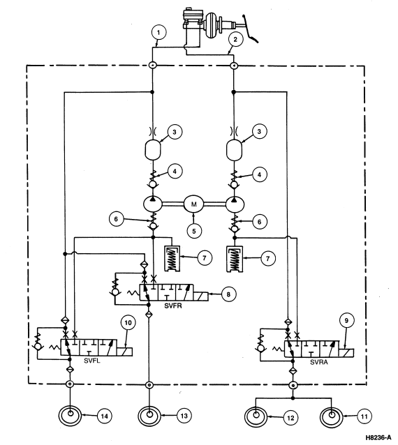
Hydraulic Schematic

| Item |
Part Number |
Description |
|
1
|
—
|
Primary Circuit (Front)
|
|
2
|
—
|
Primary Circuit (Rear)
|
|
3
|
—
|
Noise Damper
|
|
4
|
—
|
Pump Outlet Valve
|
|
5
|
—
|
Pump Motor
|
|
6
|
|
Pump Outlet Valve
|
|
7
|
—
|
Accumulator
|
|
8
|
—
|
Secondary Circuit 1
|
|
9
|
|
Solenoid-operated Valve (Rear)
|
|
10
|
|
Solenoid-operated Valve (Front)
|
|
11
|
2552
|
Right Rear Caliper
|
|
12
|
2552
|
Left Rear Caliper
|
|
13
|
2B118
|
Right Front Caliper
|
|
14
|
2B119
|
Left Front Caliper
|