Section 04-01: Suspension and Wheel Hubs, Front | 1994 Mustang Workshop Manual |
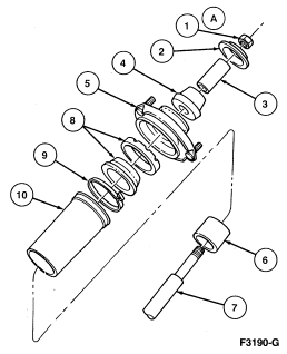
NOTE: Front shock absorber upper mounting brackets (18A161) consist of an assembly of several parts to be assembled on the front shock absorber (18124) rod and body mounting bracket.

| Item | Part Number | Description |
|---|---|---|
| 1A | N800260 | Nut |
| 2 | N800918 | Washer |
| 3 | N800919 | Spacer |
| 4 | 18A034 | Upper Insulator |
| 5 | 18183 | Bracket Assembly |
| 6 | 18A085 | Jounce Bumper |
| 7 | — | Strut Rod (Part of 18K001) |
| 8 | 18U043 | Insulator Assembly |
| 9 | N800754 | Clamp |
| 10 | 18A047 | Dust Shield |
| A | Tighten to 75-125 Nm (55-92 Lb-Ft) |