Section 01-03: Doors, Luggage Compartment Door and Liftgate | 1994 Mustang Workshop Manual |
Removal and Installation

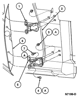
| Item | Part Number | Description |
|---|---|---|
| 1 | 22800 | Front Door Upper Hinge |
| 2A | N801193-S2 | Nut and Washer (2 Req 'd) |
| 3A | N803417-S2 | Screw and Washer (2 Req'd) |
| 4 | — | Hinge and Check Assy |
| 5 | 20124 | Front Door |
| A | Tighten to 25-35 Nm (18-26 Lb-Ft) |