Section 12-02: Heating and Defrosting | 1993 Mustang Workshop Manual |
Airflow
The heater assembly is a blend air system, receiving outside air through an opening in the RH vent duct, which is connected directly to an opening in the upper cowl. Outside air is drawn into the system from the cowl through the RH vent duct into the blower housing, forced through and/or around the heater core, mixed, and then discharged through outlets in the discharge air duct to the floor or through the defroster outlets.
Temperature Control
Temperature control of the heater and power ventilation system is
determined by the position of the temperature control knob (between COOL and
WARM) of the control assembly and is accomplished by means of a control cable
between the control assembly and the temperature blend door. System airflow is
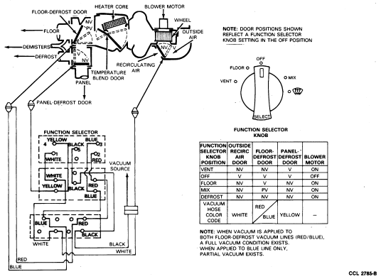
manually controlled by the control assembly. A vacuum selector valve,
controlled by the function knob (SELECT), distributes vacuum to the various
door vacuum motors which in turn direct the airflow through the system.
Heater Control Assembly

The system uses a temperature blend method to provide controlled temperature to the vehicle interior. With this method all outside airflow from the blower passes through the heater case to the plenum assembly. Temperature is then regulated by heating a portion of the outside air and blending it with the remaining cooler outside air to the desired temperature. Temperature blending is varied by the temperature blend door which controls the amount of air that flows through or around the heater core where it is mixed and directed into the distribution plenum. The air is finally directed to the heater ducts, the defroster nozzles, or the instrument panel registers depending upon the function selected with the control knob.
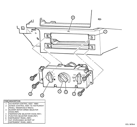
The control assembly is located in the instrument panel at the right of the steering column. The control panel has three knobs marked SELECT, TEMP and FAN. The SELECT knob is for selecting the desired system function: OFF, FLOOR, PANEL (VENT), MIX or DEFROST. The center knob TEMP is for setting the desired temperature from cool to high heat. The FAN knob is a blower switch to control the volume of air movement. Each position of the SELECT knob and the FAN knob is detented for positive engagement. The FAN knob provides four manually selected blower speeds.
Air Distribution
The following illustrations provide vacuum schematics and vacuum motor
charts which illustrate vacuum line routings and air distribution during the
various system operating conditions.
Heater and Vent System Airflow Schematic

Heater System Vacuum Schematic and Selector Test

A cable assembly connects the temperature blend door with the function control knob in the control assembly. When the function control knob (SELECT) is in the OFF position, the temperature blend door is positioned to block passage of air to the distribution outlets.
As the function control knob is moved toward the PANEL (VENT) position, airflow gradually increases to full flow from the panel registers. As the function control knob is moved from the panel to the FLOOR position, flow gradually increases to full airflow from the floor heat distribution outlets and side window demisters.
When the function control knob is moved from FLOOR to the defrost (DEF) position, the amount of airflow from the floor heat distribution outlets will gradually reduce and the amount of airflow from the defroster outlets and demisters will increase.
With the function control knob in defrost (DEF), the air will be discharged from the defroster outlets onto the windshield and the demister registers onto the side windows.
Electrical Wiring
Refer to the Electrical and Vacuum Troubleshooting manual for a wiring diagram and explanation of how the heater blower motor operates.
Blower Switch
Blower motor speed is controlled by a four position switch (LO, MEDIUM
LO, MEDIUM HI and HI) identified by the pictograph FAN on the face of the
control assembly. Its purpose is to provide a current path through or around
the resistor coils in the resistor assembly, so that the desired blower speed
will be obtained.
Blower Motor Resistor

With the switch in the LO position, current flow to the blower motor is restricted by the three resistor coils in the resistor assembly.
When the switch is moved to the MEDIUM LO position, one of the resistor coils is bypassed and current flow to the blower motor is restricted by only two resistors.
In the MEDIUM HI position, two resistor coils are bypassed and current flow to the blower motor is restricted by only one resistor.
In the HI position, the blower speed switch provides a current path around all resistors and full current (power) is available for the blower motor to operate at full speed.
NOTE: Current flows through the thermal limiter in all blower switch positions. The thermal limiter will open at 121°C (250° F) and the resistor assembly must be replaced if the thermal limiter opens.