Section 05-02A: Axle, Integral Carrier—7.5 Inch Ring Gear | 1993 Mustang Workshop Manual |
Tools Required:
A selected pinion shim 0.254-0.965mm (0.010-0.038 inch) is used between the pinion rear bearing and the pinion head. The shim compensates for machining variations in the carrier, gearset and pinion bearings. The correct shim size will locate the pinion for proper tooth contact with the ring gear. Selecting the correct pinion shim when installing a new gearset can be done by using Pinion Depth Gauge T79P-4020-A. Refer to Pinion Shim Selection (using the Pinion Depth Gauge).
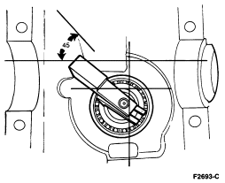
Pinion Depth Gauge Procedure

NOTE: The gauge block must be off-set to obtain an accurate reading.

NOTE: Shims must be flat. Do not use dirty, bent, nicked or mutilated shims as a gauge.
NOTE: A tooth pattern check with the marking compound and road testing is not required when Pinion Depth Gauge T79P-4020-A or equivalent is used.