Section 03-04A: Fuel Charging and Controls—2.3L | 1993 Mustang Workshop Manual |
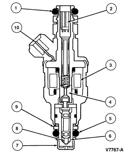
The fuel injector nozzles are electro-mechanical devices which both meter
and atomize fuel delivered to the engine. The MFI injectors are mounted in the
lower intake manifold and positioned such that their tips are directing fuel
just before the engine intake valves. The valve body consists of a solenoid
actuated valve assembly. Therefore, fuel flow to the engine is regulated only
by how long the solenoid is energized. An electrical signal from the powertrain
control module (PCM) activates the solenoid, causing the needle to move inward,
off the seat, allowing the fuel to flow through the orifice. Atomization of the
fuel is obtained by a director/metering plate at the point where the fuel
separates. 
| Item | Part Number | Description |
|---|---|---|
| 1 | — | Outer O-Ring Seal (Upper) |
| 2 | — | Integral Filter |
| 3 | — | Coil |
| 4 | — | Armature |
| 5 | — | Outer O-Ring Seal (Lower) |
| 6 | — | Stainless Steel Body |
| 7 | — | End Cap |
| 8 | — | Stainless Steel Needle |
| 9 | — | Washer |
| 10 | — | Electrical Connector |